|
|
|
|
|
 |
商品名 : 707黄铜活塞式减压阀--Y13X-16T
|
|
【简述】
意大利先进工艺,5万次不泄漏,任何角度安装
公称压力:1.6MPa 工作介质:水 工作温度:0℃≤t≤80℃ 出口压力:0.1Mpa-0.55Mpa 圆柱管螺纹符合ISO228标准 |
|
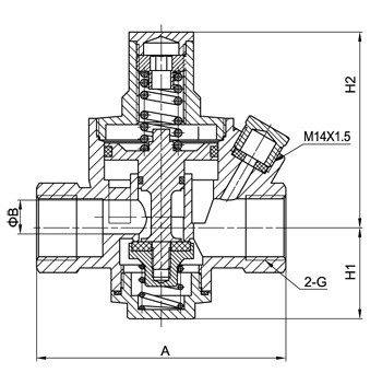
| 【尺寸图】 |
 |
|
|
| 型式(DN) |
SIZE |
A |
B |
H1 |
H2 |
G |
| 15 |
1/2 |
78 |
11 |
29.5 |
63.5 |
1/2 |
| 20 |
3/4 |
78.5 |
12 |
30 |
63 |
3/4 |
| 25 |
1 |
85 |
15 |
35.5 |
76.7 |
1 |
| 32 |
1 1/4 |
85 |
18 |
37 |
76.7 |
1 1/4 |
| 40 |
1 1/2 |
103 |
22.5 |
47.5 |
101.8 |
1 1/2 |
| 50 |
2 |
120 |
28.5 |
54.5 |
122.7 |
2 |
|
|
| 如果这里没有您需要的型号,我们很乐意为您特别定制,请电话联系我们。 |
|
|
|